【一周圈内事】深圳玺佳表入围日内瓦高级钟表大赏、雅典表携中国限定版腕表首次亮相进博会、新一季度的全球智能手表出货量……

  • 行业动态
  • 2019-11-11
  • ■ CIGA Design玺佳——第一个入围日内瓦高级钟表大赏的中国腕表

    第19届日内瓦高级钟表大赏(GPHG),中国原创设计腕表品牌CIGA Design玺佳以单针系列机械腕表·地球款入围了内瓦高级钟表大赏“挑战奖”,打破中国品牌从未入围的记录,成为第一个入围的中国腕表品牌。

    ■ 2.2亿,百达翡丽创下“史上最贵手表”记录

    在11月9日结束的Only Watch慈善拍卖上,百达翡丽Ref.6300A表款以3100万瑞郎,约合人民币2.2亿的天价成交(无佣金),成为“史上最贵手表”。打破了由劳力士Paul Newman迪通拿在2017年创下的1.3亿人民币的世界纪录。

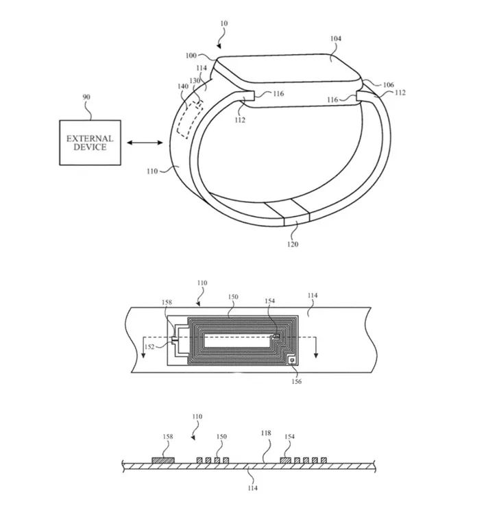
    ■ 苹果Apple Watch表带将集成无线天线

    苹果近日向美国专利局申请了一项与Apple Watch表带有关的新专利,在这份项目号为20190341677的专利文件中苹果向大家揭示了将无线通信天线集成到表带中的设计。

    苹果认为在未来的可穿戴产品中,将天线和部分控制电路放置在表带中将会是更好的选择。苹果专利显示,天线嵌入表带式设计可保护天线免受外部环境影响,同时还可以起到隐藏嵌入式天线以增强表带美观的作用。

    ■ Bell&Ross柏莱士进驻北京国贸商城

    11月8日,瑞士军表领域钟表品牌Bell&Ross柏莱士在北京CBD核心区国贸商城举办品牌专卖店开业仪式。同时,展出全新BR 05系列标志性方圆合一形腕表并同步进行销售。

    ■ 万希泉携手方力申推出Ambassador of HOPE陀飞轮慈善腕表

    香港陀飞轮腕表品牌万希泉日前举办发布会,宣布与慈善机构“点滴是生命”及艺人、香港健将方力申携手合作,推出以“希望”为主题的“Ambassador of HOPE陀飞轮”腕表,助力慈善事业。

    ■ Rado瑞士雷达表宣布白宇成为中国大陆地区品牌大使

    近日,瑞士先锋腕表品牌Rado瑞士雷达表宣布,知名演员白宇正式成为Rado瑞士雷达表中国大陆地区品牌大使。作为备受肯定的实力派演员,白宇对表演的专注和不断追求与Rado瑞士雷达表追求突破、不断创新的先锋精神可谓不谋而合。

    ■ 雅典表携中国限定版腕表首次亮相进博会

    11月7日,开云集团旗下高级制表品牌Ulysse Nardin雅典表携创新腕表系列首次亮相进博会。雅典表现场全球首发雅典表航海系列领航者腕表中国红限定版。

    ■ TISSOT天梭表进博会限量珍藏款腕表发布

    11月6日,作为首次参展进博会的企业,TISSOT天梭表推出进博会限量珍藏款腕表并在展台举办了发布仪式。同时,品牌首次以采用拍卖的形式进行发售,该系列共计发售5077只,其中男表4037只、女表1040只。全系列表后盖均镌刻中国国际进口博览会的中英文字样、“进宝”图案及唯一编码。

    ■ 小米智能手表发布,称其为「真正的智能手表」

    11月5日,小米在CC9 Pro新品发布会同时推出了旗下首款智能手表。手表内置eSIM模拟芯片,不用插卡也能独立通话、上网,支持一号双终端和独立号码。官方表示,小米手表是一款真正的智能手表,是手表形态的智能手机,而不是手表形态的智能手环。

    ■ CIGA Design玺佳推出宫廷特别版全镂空机械表

    CIGA Design玺佳与故宫宫廷文化丨宫里的世界联名推出全镂空机械表宫廷特别版,以故宫博物院藏品为设计灵感,传承国宝艺术之美。

    ■ 亨利慕时发布新品勇创者恒动月相沙金石概念腕表

    11月6日,亨利慕时推出全新的勇创者恒动月相沙金石概念腕表,这款全新的腕表依然没有任何标识及刻度,以富含诗意及纯粹的手法诠释繁星伴月的美景。

    ■ 新一季度的全球智能手表出货量

    11 月 7 日,市场调研机构 Strategy Analytics 发布新一季度的智能手表出货量报告。报告显示,2019 年 Q3,全球智能手表出货量达到 1400 万,同比增长 42%。Apple Watch 继续独揽智能手表市场半壁市场,三星、Fitbit 紧随其后,分别位列第二、三名。

    ■ 前9个月我国消费品进口增15.3%

    11月7日,商务部副部长王炳南在第二届中国国际进口博览会“品质生活国际论坛”上表示,我国消费进口正在扩容提速,1至9月消费品进口同比增15.3%。预计未来15年,中国进口商品和服务将分别超过30万亿美元和10万亿美元,将进一步优化中国国内中高端消费供给,更好满足品质生活需要。

    ■ 中国6G技术研发正式启动

    据科技部网站11月6日消息,科技部日前会同国家发展改革委、教育部、工业和信息化部、中科院、自然科学基金委在北京组织召开了6G技术研发工作启动会。会议宣布成立国家6G技术研发推进工作组和总体专家组,标志着我国6G技术研发工作正式启动。


    整理:深圳市钟表行业协会

    如有侵权请联系删除