香港:政府将资助展览参展商一半费用
为重振会议及展览会展业,香港政府最近公布,在「防疫抗疫基金」下设立总额 10.2 亿 (港元,下同) 的会议展览业资助计划, 从7 月 16 日启起至 2021 年 7月 15 日,将资助会展活动的参加者和主办机构(适用于所有贸发局于期内开始举行的展览和主要会议)。
资助计划分两部分。第一部分是资助所有参与香港贸易发展局 (贸发局) 举办的展览的参展商百分之 50 的费用,每个标准摊位的资助金额以 1 万元为限,每间参展商每次最多可获资助 10 个摊位的参加费用;而参与贸发局主要会议的参加者,亦均可获参加费用百分之 50 的资助,每次上限 1 万元。
宝齐莱于瑞士日内瓦宣布新品将于8月底公布
宝齐莱(Carl F. Bucherer)开辟全新思维,宣布全新新品上市形式;将于2020年8月26日至29日在位于瑞士日内瓦(Geneva)的宝嘉尔精品店,以崭新的陈列方式呈现一系列尊享活动,展示全新杰作;并集中与受邀的合作伙伴、媒体、品牌大使和腕表爱好者,开展内容丰富且饶有创意的深度交流。
宝齐莱全球行政总裁慕瑞(Sascha Moeri)表示:“宝齐莱在巴塞尔珠宝钟表展(Baselworld)参展超过35年,我们现在必须以另一种新方式向全球展示我们的新品。全新发布策略不仅为品牌带来机遇,还可以进一步:通过地区性品牌活动,继续与员工以及遍布全球的合作伙伴和品牌挚友,保持紧密联系,这对我们而言攸关重要。在品牌创立130多年来,我们成功克服了许多挑战,为战胜当前的危机,我们已经开辟出全新方向。”
江诗丹顿呈现“One of Not Many卓尔不群”限时体验店
江诗丹顿为进一步彰显别具一格的品牌世界和“One of Not Many卓尔不群”的传播理念,7月2日至31日,以全新视觉设计首次在上海地标性高端购物中心——恒隆广场精彩呈献“One of Not Many卓尔不群”限时体验店。
品牌精心打造更具优雅现代风范的创意空间,特别展示了来自Égérie伊灵女神系列、Overseas纵横四海系列、Fiftysix®伍陆之型系列、Patrimony传承系列和Traditionnelle传袭系列多个系列的全新时计及复杂功能时计杰作,为品位鉴赏家呈现高级钟表的精妙世界。
宝珀Blancpain五十噚首枚绿色深潜器限量腕表
宝珀全新推出一款致力于保护无沟双髻鲨的特别潜水腕表——深潜器Bathyscaphe Mokarran无沟双髻鲨限量版腕表,腕表限量发行50枚。
以Bathyscaphe潜水器腕表为蓝本设计的三针表款,引入全新配色——“极光绿”。表壳直径43.6毫米,采用缎面黑色陶瓷制成,防水深度达30巴(约300米)。透过蓝宝石玻璃表背,1318机芯的运行美态清晰可见,这是一款以1315机芯为基础开发的经典机芯,尤以其精准度、高性能和精致美感为特色。这款自动上链机芯由宝珀为其运动腕表特别研发生产,其摆轮配备硅质游丝和3个发条盒,可提供长达5天的动力储备。其纯金摆陀上镌刻无沟双髻鲨的图案,并经过NAC涂层处理。
HUBLOT宇舶表全新BIG BANG千禧粉腕表
HUBLOT 宇舶表携手Garage Italia 及其创始人拉普·艾尔坎恩(Lapo Elkann)正式推出全新Big Bang千禧粉腕表。腕表搭配42毫米的表盘,兼具出色的耐划伤性和抗冲击性,Unico自动计时机芯于表盘侧设有计时装置与导柱轮,支持72小时动力储存。具有高度通用性的Big Bang千禧粉腕表有两款表带可供选择,采用宇舶表获得专利的“一键式”系统,可轻松更换两款表带。腕表将限量发售200枚。
欧米茄全新星座系列男士腕表
欧米茄推出星座系列41毫米男士腕表,共推出8个款式,分别采用18K金,精钢搭配18K金或精钢材质打造而成。欧米茄将品牌卓越的材质和创新制表工艺融入腕表设计之中,其中七个表款的表圈采用抛光陶瓷制成,其设计灵感来自1982年星座腕表的深色表圈,陶瓷表圈上的罗马数字刻度则由欧米茄独创的 OMEGA Ceragold® 技术或Liquidmetal™合金制成;还有一款采用精钢表圈,其罗马数字刻度经黑化技术处理。
腕表通过了由瑞士联邦计量研究院 (METAS) 核准的8项严苛检测,其精准度、防磁性和整体性能达到了行业的更高标准。腕表每日精准度介于0至+5秒之间,可以抵抗15,000高斯的强磁场,动力储存可达60小时,还具备快速调校时区功能。透过蓝宝石玻璃表背,欧米茄8900/8901同轴至臻天文台机芯的运转美态清晰可见。
帕玛强推出全新通达GT系列
源自瑞士弗勒里耶的顶级制表品牌帕玛强尼推出全新Tonda GT自动腕表。新款腕表由著名设计师Dino Modolo操刀,其表壳设计灵感源自2017年日内瓦高级钟表大赏(GPHG)最佳计时表得主:Tonda Chronor Anniversaire双追针计时码表。
全新通达GT系列将率先推出三款运动与优雅兼具的独特表款,分别以镜面抛光和拉丝工艺处理的精钢材质或18K玫瑰金打造。全面革新的表壳造型、进一步优化的表耳设计以及遵循人体工学打造的高舒适度一体式表链,重新演绎品牌标志性的设计元素。滚花表圈令人不禁想到同样为品牌标志性力作的帕玛强尼寰宇系列,而表盘则饰有经典的“三角饰钉”玑镂刻花图案。全新表款均备有镜面抛光和拉丝工艺处理的表链,或橡胶表带的选择,而橡胶表带的图案巧妙呼应着表盘饰纹。

TISSOT天梭表推出海星潜水1000系列腕表
TISSOT天梭表推出海星潜水1000系列腕表,该系列腕表有专业款,机械款和石英款。其中专业款腕表由精钢制成,搭载自动上弦计时机芯,能够承受4,800A/m的直流磁场,以及水压对表冠和按键产生的横向冲击,防水深度可达300米,可以全面满足专业潜水表ISO 6425的标准。腕表的氦气阀设计在上浮的过程中可自动打开,迅速排出表壳内聚集的氦气和空气混合物,以此保护腕表,减少损伤。具备长达60小时的宽裕动力储存能力。
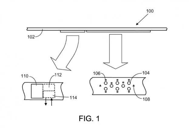
微软可穿戴新专利曝光:能更精准测量佩戴者血压
近日,微软有一项新专利被公示,解决了当前可穿戴设备血压测量的一个痛点。该专利名为《可穿戴式脉压波发送设备》,和Band所使用的解决方案有所不同,其更像是一个贴片,上面有一排压力传感器,横卧在特定区域(大概是动脉附近)。该专利的亮点在于,设备会寻找并提醒用户将其放置在哪里才是最准确的读数。理想情况下,微软的动脉监测系统将减少假阳性读数,并每天以最准确的读数告知用户。(cnBeta)
首款“中国芯”内存条在深圳量产
首款“中国芯”内存条在深量产,经过验证可替代进口产品。这款名为光威弈Pro系列的内存条,由深圳存储芯片测试企业嘉合劲威电子科技公司生产制造,目前正在坪山区大规模量产。(深圳特区报)
抖音内测3分钟拍摄时长权限
近日,抖音在其最新的内测版本中,将原有的60秒拍摄时长权限延长至3分钟,可以完整展现用户想要展示的画面。后期,将会在公开的版本中,开放给所有用户。(Tech星球)
微信小程序将支持分享到朋友圈,适用于内容型页面
据新浪科技报道称,微信小程序将支持分享到朋友圈,这一操作陆续支持Android版微信,iOS将在后续的版本更新中陆续实现。目前,iOS版微信小程序仅支持“发送至对话”和“添加到我的小程序”这两项功能。截至目前,这项功能依然没有对小程序开发者完全开放,微信也没有给出具体的时间表。(新浪科技)
腾讯直播7月20日起可免费入驻,推出“蓝V权益”
近日,腾讯直播团队发布了《致腾讯直播商家及内容创作者的一封信》,表示将于7月20日起开启免费入驻通道,用户下载腾讯直播APP,完成实名认证即可拥有直播权限和电商带货能力。同时推出的还有“蓝V权益”,腾讯直播蓝V用户可自动开通小程序跳转带货资格,实现从看点直播跳转到商家自有小程序带货,并享受平台定制的专属公域流量扶持方案。
运营 : 时刻传播
未标注内容整理自品牌官方及网络
如有侵权请联系删除
商务合作
协会秘书处
☎ 0755-82949326
✉ members @ewatch.cn
如果您有任何问题或需求,请联系我们